APLIKÁCIE
- flexibilná hadica/ potrubie pre brúsny prášok, sypký materiál, granulát a pre plyny
- priemyselné vysávače, vysávače
- oblasť s nebezpečenstvom výbuchu
- Uhoľná baňa, baňa, razenie tunelov: vetranie, ťažba metánu
VLASTNOSTI
- vysoko odolná proti oderu
- dobrá odolnosť voči olejom, benzínu a chemikáliám
- veľmi dobrá flexibilita pri nízkych teplotách
- elektricky vodivá stena: elektrický a povrchový odpor <10³Ω (podľa NFPA 652 <10⁶ Ω)
- v súlade s ATEX 2014/34/EU (1999/92/EC) a nemeckým TRGS 727: pneumatická doprava horľavých prachov a sypkých materiálov (zóna 20, 21, 22 vnútri), odsávanie horľavých prachov (zóna 22 vnútri),
- v súlade s ATEX 2014/34/EU (1999/92/EC) a nemeckým TRGS 727: na dopravu horľavých kvapalín (vnútri zóny 0, 1, 2), na dopravu nehorľavých kvapalín, na použitie v zóne 1 a 2 (plyny), na použitie v zóne 0 (plyny)
- podľa DIN 26057 Typ 2
- vyhovuje smernici RoHS
- REACH podľa --> Technológia / Technické informácie / REACH
TEPLOTNÝ ROZSAH
- -40 °C až 90 °C
VARIANTY DORUČENIA
- ďalšie priemery a dĺžky na vyžiadanie
- čierna (štandardná)
- branding špecifický pre zákazníka
DIZAJN
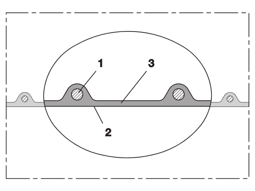
- Profilová hadica AIRDUC ®
- 1. drôt z pružinovej ocele pevne zapustený do steny
- 2. stena: elektricky vodivý prémiový ester-polyuretán (Pre-PUR ® )
- 3. hrúbka steny cca 0,7 mm.

Diskusia
Buďte prvý, kto napíše príspevok k tejto položke.
