APLIKÁCIE
- oblasť s nebezpečenstvom výbuchu
- odsávacia jednotka, odprašovací systém, filtračný systém, odsávanie olejovej hmly
- odsávanie drevného prachu, drevná štiepka: výroba nábytku, píla
- odsávanie dreveného prachu: vertikálna panelová píla, píla, drevoobrábací stroj, stroj na opracovanie hrán, brúska na parkety
VLASTNOSTI
- ťažké prevedenie
- vysoko odolná proti oderu
- zvýšená odolnosť voči tlaku a vákuu
- odolná voči mikróbom
- dobrá odolnosť voči olejom, benzínu a chemikáliám
- spomaľujúca horenie podľa: DIN 4102-B1
- trvalo antistatická stena: podľa ISO 8031 elektrický a povrchový odpor <10⁹ Ω (podľa TRGS 727 <2,5*10⁸ Ω*m a NFPA 652 10⁸-10⁹ Ω)
- v súlade s ATEX 2014/34/EU (1999/92/EC) a nemeckým TRGS 727: pneumatická doprava horľavých prachov a sypkých materiálov (zóna 20, 21, 22 vnútri), odsávanie horľavých prachov (zóna 22 vnútri),
- v súlade s ATEX 2014/34/EU (1999/92/EC) a nemeckým TRGS 727: na dopravu horľavých kvapalín (vnútri zóny 0, 1, 2), na dopravu nehorľavých kvapalín, na použitie v zóne 1 a 2 (plyny), na použitie v zóne 0 (plyny)
- zodpovedá bezpečnostným predpisom Nemeckej asociácie obchodu s drevom
- podľa DIN 26057 Typ 2
- vyhovuje smernici RoHS
- REACH podľa --> Technológia / Technické informácie / REACH
TEPLOTNÝ ROZSAH
- -40 °C až 90 °C
- krátkodobo do 125°C
VARIANTY DORUČENIA
- ďalšie priemery a dĺžky na vyžiadanie
- priehľadná + čiastočne strieborná farba (štandard)
- špeciálne farby: čiastočne zafarbené, úplne zafarbené
- branding špecifický pre zákazníka
DIZAJN
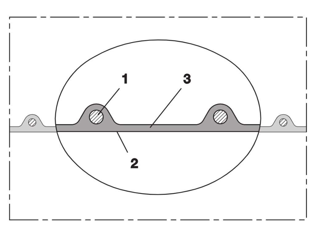
- Profilová hadica AIRDUC ®
- 1. drôt z pružinovej ocele pevne zapustený do steny
- 2. stena: trvalo antistatický prémiový polyuretán (Pre-PUR ® ), odolný voči agresívnym druhom dreva a prostriedkom na ochranu dreva
- 3. hrúbka steny cca 0,7 mm.

Diskusia
Buďte prvý, kto napíše príspevok k tejto položke.
